自动排污过滤器CTF-S
-
单台处理水量:4-150m³/h
-
最大工作压力:0.1-1.6Mpa
-
过滤器清洁时的压力损失:≤0.018Mpa
-
最高工作水温:95℃
-
过滤精度范围:10-3000μm
-
自清洗所需水量:<1%
-
自清洗时间:10-60秒
-
自清洗控制方式:压差、时间及手动
-
电控方式:交流三相380V/ 50Hz
-
控制界面:数显、旋钮、开关
-
滤网类型:316L编织网、楔形网
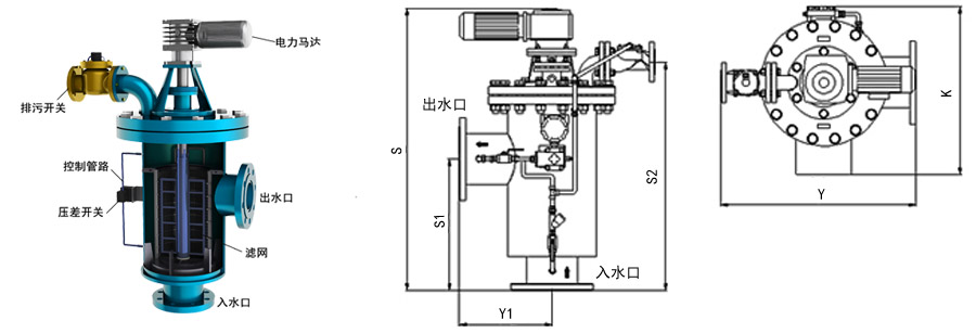
自清洗过滤器技术数据
|
型号 |
出入水口管径 |
出入水口管径 |
S |
S1 |
S2 |
Y |
Y1 |
K |
经济流量 |
滤网面积 |
重量 |
|
|
(inch) |
mm |
mm |
mm |
mm |
mm |
mm |
mm |
m3/h |
cm2 |
kg |
|
CTF-S01 |
1 |
DN25 |
687 |
176 |
284.5 |
410 |
186 |
590 |
4 |
1060 |
87 |
|
CTF-S01.5 |
1.5 |
DN40 |
10 |
91 |
|
CTF-S02 |
2 |
DN50 |
16 |
97 |
|
CTF-S03 |
3 |
DN80 |
698 |
227 |
645 |
657.5 |
235 |
614 |
45 |
103 |
|
CTF-S04 |
4 |
DN100 |
65 |
106 |
|
CTF-S05 |
5 |
DN125 |
898 |
313 |
744 |
313 |
731 |
105 |
2208 |
197 |
|
CTF-S06 |
6 |
DN150 |
150 |
2713 |
压损表

跟此产品相关的产品
/ Related Products
相关资讯
联系必一平台-必一(中国
邮箱:yianke@163.com
地址:北京市昌平区城北街道侯家庵胡同2号
必一·运动(B-sports)官方网站
新利网页版-新利(中国)
安博线上平台-安博(中国)
球友会官方网页版_球友会(中国)
球友会-球友会(中国)一站式服务平台
IM网页版登录入口_IM(中国)
IM官方版网站登录入口-IM(中国)
leyu.乐鱼(中国)集团有限公司官网
OD在线-OD在线(中国)